2月20日消息,如今越來越多的手機開始具備衛星通信能力,蘋果自然也不會落下。據外媒報道,蘋果一項新獲批的專利顯示,蘋果正在研究將相控陣天線與手機殼相結合,以便讓iPhone甚至iPad具備衛星通信的能力。

早在2022年iPhone 14上,蘋果就推出了衛星緊急求救(Emergency SOS)功能以來,並且也已在多次險情中立功,但其侷限性也十分明顯。受限於手機內部微小的天線面積和發射功率,用戶必須在空曠地帶精準對準衛星,且數據傳輸速度極慢,僅能維持文字通信。

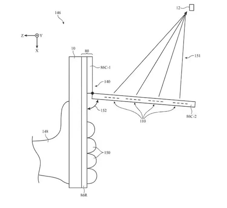
而蘋果這一新專利,則是提供了一個新的思路,如果手機裝不下大天線,就讓手機殼來背。專利顯示的保護殼內置了複雜的相控陣天線陣列。與傳統天線不同,它擁有多個發射和接收單元,能夠通過波束成形技術,在不移動設備的情況下,自動追蹤並鎖定天空中移動的衛星羣。
同時,信息顯示,該保護殼可以同時連接多顆低軌衛星。這意味着當一顆衛星飛離視線時,信號能無縫切換到下一顆,從而維持穩定的數據鏈路。
此外,專利信息還提到,該保護殼能顯著提升數據吞吐量。目前的衛星通信僅能處理幾百字節的求救文本,而配備了該保護殼的iPhone或iPad,將具備處理寬帶級數據的能力。這意味着在沒有基站的荒漠、深海或是偏遠山區,用戶可能直接通過衛星刷網頁、收發帶附件的電子郵件,甚至進行社交媒體互動。

儘管目前僅處於專利階段,但依舊展示了蘋果近期在衛星領域的大動作。此前,蘋果已向衛星運營商Globalstar追加了11億美元的投資,明顯能夠感受到蘋果在衛星通信領域的佈局。
如果該專利最終量產,它將徹底改變戶外運動愛好者、航海者及偏遠地區工作者的通信習慣。它不再是一個“一生用一次”的救命開關,而是一個將iPhone變成全球漫遊終端的專業配件。 雖然專利轉化爲實際產品尚需時日,但可以預見,未來的iPhone用戶或許只需要換個手機殼,就能撕掉“無服務”的標籤,在地球的任何一個角落隨時聯網。




